氧化锆陶瓷材料凭借自身优点逐步运用在电子商品领域,*典型的是在手机背板和智能穿戴上的应用。陶瓷表面处理工艺中,抛光是非常重要的一环,但氧化锆陶瓷的高耐磨性和高硬度导致其抛光加工难度较大。下面为大家介绍7种陶瓷抛光方法。

一、机械抛光
机械抛光是靠切削或使材料表面发生塑性变形而去掉工件表面凸出部分得到平滑面的抛光方法。一般使用油石条、羊毛轮、砂纸等,以手工操作为主。表面质量要求高的可采用超精研抛的方法。超精研抛是采用特制的磨具,在含有磨料的研抛液中,紧压在工件表加工表面上,作高速旋转运动。
机械抛光的机理是靠楔形挤压和抛光液的反弹增加微切削作用和被加工材料的微塑性流动作用达到抛光效果。
由于陶瓷手机背板的厚度较小,且机械抛光是直接接触,摩擦可能导致工件出现应力变形,温度过高还可能使得晶格组织**,故在抛光过程中要注意温度的控制。

二、化学机械抛光(CMP)
利用抛光液腐蚀作用和机械去除作用的复合效果进行抛光的方法。其**特征是粉末比加工物的机械性质还软,能够与加工物发生固相反应。在其与通常的抛光进行同样的滑动运动时,粉末与加工物局部接触点上产生机械-化学效应的微小反应部分由于摩擦力而发生脱落,加工得以进行。
要获得品质好的抛光片,必须使抛光过程中的化学腐蚀作用与机械磨削作用达到平衡。目前CeO2等软质抛光液广泛用于陶瓷精密抛光。

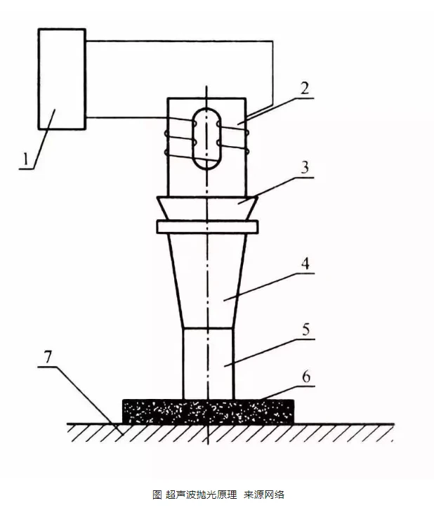
三、超声波抛光
超声波抛光是将工件放入磨料悬浮液中并一起置于超声波场中,依靠超声波的震荡作用,使研料在工件表面磨削抛光。其主要作用是磨粒在超声振动下,以很大的速度和加速度不断撞击加工表面,对加工表面的微凸部分进行微切削加工,从而达到抛光的目的。
超声加工对各种结构陶瓷、石墨等硬脆材料都可以进行加工,其加工效率随着材料脆性的增大而提高。而且工具对工件的作用力和热影响较小,不产生变形、烧伤、变质层。设备简单,使用维修方便,操作容易,成本较低。

四、电泳抛光
将电泳现象应用于陶瓷工件的一种非接触无损抛光方法。由于没有外加载荷,脆硬性陶瓷材料的去除全部依赖粒子的碰撞和 微切削来实现;连续的碰撞和微切削使陶瓷表面局部发生微疲劳剥落和极细微的犁削。

五、流体抛光
依靠流动的液体及其携带的磨粒冲刷工件表面达到抛光的目的。不但可以进行光整加工还可以去除毛刺,效果非常好,流体动力研磨是由液压驱动,介质主要采用较低压力下流过性好的特殊化合物并掺入磨料制成,磨料可采用碳化硅粉末。

六、磁研磨抛光
磁研磨抛光是利用磁性磨料在磁场作用下形成柔性磨料刷,与工件相对运动,产生切削、刻划、滑擦、挤压和滚动等现象,对工件研磨抛光。这种方法加工效率高,质量好,加工条件容易控制。

七、镭射抛光
镭射抛光是用一定能量密度和波长的激光束辐照特定工件,使其表面一薄层物质熔化或蒸发而获得光滑表面。
镭射抛光精度高,非接触加工,可控性强,加工过程自动化,不留抛光渣滓,清洁无污染,工艺简单,可有效降低表面粗糙度,极大提高抛光效率,可抛光不规则曲面,且抛光加工的陶瓷更显光泽漂亮,**质感,是硬脆性质陶瓷材料抛光的**选择之一。

免费致电
在线咨询
返回顶部